通信世界网消息(CWW)3月10日,垣信卫星公布预披露增资项目,启动继2024年67亿A轮融资后的又一轮股权融资。据相关媒体报道,垣信卫星本轮融资金额预计达50~60亿元,投前估值更是超过400亿元。
垣信卫星是低轨巨型星座“千帆星座”的投资建设运营主体,目前共有职工452人,股东27家,其远期规划在轨卫星数量超过15000颗,致力于构建空天地一体化网络,融合6G、AI、物联网,支撑万亿级数字经济场景。
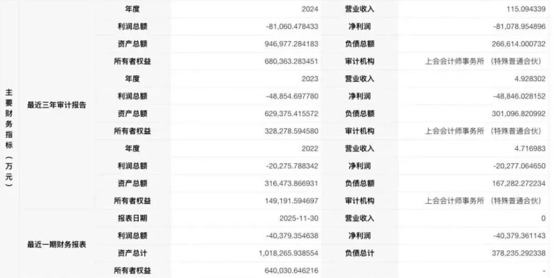
公告还同步公布了垣信卫星最近一期财务报表以及最近三年审计数据,包括营收、盈利、资产总计、所有者权益等,其中显示资产总计快速增长,截至2025年11月30日达到101.8亿。

营收层面,垣信卫星目前营收规模仍处于极低水平,2022、2023年营收分别仅约4.7万元、4.9万元,2024年增长至115.09万元,2025年前11月营收为“0”。当前,“千帆星座”仍处于建设阶段,商用服务尚未规模落地。根据规划,千帆星座预计在2026年完成324颗卫星累计在轨目标。
上海垣信卫星科技有限公司董事长张琦此前透露,千帆星座已发射108颗组网卫星,初步建成地面测运控网络,预计年内实现全球初步覆盖。当前,垣信卫星加速国际化进程,与巴西国有通信企业TELEBRAS合作,为农村、学校、医院提供宽带,信关站已完成调试,商业服务进入倒计时,还与泰国国家电信、马来西亚 MEASAT 等推进合作,为后续规模化商业运营铺路。
盈利方面,垣信卫星处于阶段性亏损状态:2022~2024年净利润分别亏损约2.03亿元、4.88亿元、8.11亿元,亏损额近乎翻倍式增长,2025年前11月亏损约4.04亿元,同比收窄,近四年累计亏损规模接近20亿元。商业航天是技术门槛高、资金需求密集、回报周期极长的产业,垣信卫星的亏损主要源于卫星研发与制造成本、火箭发射费用等刚性支出。
资产结构方面,垣信卫星资产规模稳步扩张:总资产从2022年31.65亿元增长至2023年62.9亿元、2024年94.70亿元,2025年11月末达101.8亿。所有者权益同样稳步增长,从2022年的14.92亿元增长至2024年的68.04亿元,2025年前11月约64亿元。总体来看,公司财务结构极度稳健,偿债压力小,2024年资产负债率仅28.14%,2025年11月末也仅37.14%,远低于重资产行业平均水平。
总体而言,垣信卫星当前财务表现契合商业航天行业早期发展阶段“高投入、无规模化营收、持续阶段性亏损”的特征,符合低轨星座建设项目的行业周期规律。
值得关注的是,垣信卫星未来发展仍面临挑战:建设方面,受限于批量产能、发射能力等因素,千帆星座组网进度能否如期完成?市场方面,目前其海外布局大多集中在东南亚、中亚、南美洲等地,也将面临国内外其他低轨星座项目的激烈市场竞争,后续市场拓展仍需持续发力。


